一、選擇題:1~15小題,每小題4分,共60分。在每小題給出的四個選項中,選出一項符合題目要求的。將所選項前的字母填在題后的括號內。
1.兩個分子間的作用力的合力F與兩分子間距離r的關系圖如圖所示。當分子間的距離由無窮遠到無限接近的過程中( )

A.F一直為引力
B.F一直為斥力
C.當r>r0時,F為斥力;r<r0時,F為引力
D.當r>r0時,F為引力;r<r0時,F為斥力
答案:D
2.如圖,一束光線自介質射向空氣,在分界面處發生反射和折射。當入射角為30°時,反射光線和折射光線恰好垂直。則該介質的折射率為( )

答案:D
3.如圖,質量為m的長木板在光滑水平面上以速度υ勻速運動。若將一質量為m的物塊無初速地放在長木板上,經過一段時間后,物塊與木板保持相對靜止。在此過程中,長木板和物塊組成的系統損失的機械能為( )

答案:B
4.一列簡諧橫波在t1=0.5 S時的波形圖如圖所示。已知平衡位置在x=0.5 m的A處的質點,在t2=1.5s時第一次回到A處,且其速度方向指向y軸負方向。這列波( )

A.沿x軸正向傳播,波速為1 m/s
B.沿x軸正向傳播,波速為2 m/s
C.沿x軸負向傳播,波速為1 m/s
D.沿x軸負向傳播,波速為2 m/s
答案:A
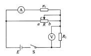
5.如圖,R1和R2為定值電阻,R為滑動變阻器,E為電源。電路接通后,電流表A和電壓表V均有示數。現將R上的滑片由c點向a端滑動,則( )

A.A的示數增大,V的示數減小
B.A的示數增大,V的示數增大
C.A的示數減小,V的示數增大
D.A的示數減小,V的示數減小
答案:C
6.如圖,兩根足夠長的平行光滑金屬導軌CD和FG上放置一導體桿ab,導軌一端接電源E;該裝置放在一勻強磁場中,磁場方向與導軌平面垂直。則導體桿ab( )

A.所受安培力方向向左,向左做勻速運動
B.所受安培力方向向左,向左做變速運動
C.所受安培力方向向右,向右做勻速運動
D.所受安培力方向向右,向右做變速運動
答案:D
7.一質點做直線運動的速度一時間圖像如圖所示。則該質點( )

A.運動6s后又回到出發點
B.0~2s內加速度為3 m/s2,2~6s內加速度為1 m/s2
C.一直沿一個方向運動,0~6s內位移為l8 m
D.0~2s內向前移動6 m,2~6s內向后移動12 m
答案:C
8.下列物質在存放過程中,容易被空氣中的氧氣氧化而變質的是( )
A.稀硫酸
B.澄清的石灰水
C.硫酸亞鐵溶液
D.硝酸銀溶液
答案:C
9.下列物質與C6H14互為同系物的是( )

答案:B
10.做過銀鏡反應后,要除去試管壁上附有的銀鏡,可使用的試劑是( )
A.稀硝酸
B.稀硫酸
C.稀鹽酸
D.碳酸鈉溶液
答案:A
11.在同溫同壓下,物質的量相等的N2和NO具有不同的( )
A.質量
B.體積
C.原子數
D.分子數
答案:A
12.要除去FeCl2溶液中含有的少量Fe3+和Cu2+,應選擇的試劑是( )
A.鋅粉
B.鐵粉
C.氯氣
D.氫氧化鈉
答案:B
13.下列物質的水溶液不能跟二氧化碳反應的是( )
A.硅酸鈉
B.偏鋁酸鈉
C.氯化鈣
D.碳酸鈉
答案:C
14. 
A.增大壓強
B.降低溫度
C.增加水蒸氣的量
D.增加一氧化碳的量
答案:C
15.用二氧化錳與濃鹽酸混合加熱制氯氣,此反應中若有2 mol氯化氫參與反應,則電子轉移的物質的量為( )
A.0.5 mol
B.1 mol
C.2 mol
D.4 mol
答案:B
二、填空題:l6~28小題。共57分。其中第16~19小題每小題6分,第20~28小題每空3分。把答案填在題中橫線上。
16. 
17.一帶電粒子在一個正的點電荷q附近的運動軌跡為圖中實線所示,則該粒子帶__________電(填“正”或“負”),粒子在圖中A點的電勢能__________(填“大于”或“小于”).B點的電勢能。

答案:正,大于
18.一質量為5 kg的物體在恒力F作用下,從靜止開始做勻加速直線運動。已知第5 s內的位移為9 m,則此物體前4 s內的位移為__________m,此恒力的大小F=__________N。
答案:16,10
19.使用多用電表測量一個阻值約為幾千歐的電阻的阻值。將下面列出的測量步驟的序號,按正確的順序填在橫線上__________。
①將選擇開關旋離歐姆擋至OFF擋。
②將選擇開關旋至歐姆擋,并選擇×1 K的擋位。
③將紅、黑表筆接觸進行調零。
④將紅、黑表筆接在待測電阻兩端讀取數據。
答案:②③④①
20.2,5-二EF基-3-乙基己烷的結構簡式為__________。

21.在FeBr3催化作用下,苯與溴發生反應,其反應類型為__________。
答案:取代反應
22.將20℃的氯化鈉飽和溶液蒸發掉20g水,可以析出__________g氯化鈉晶體(20℃時氯化鈉的溶解度為36g)。
答案:7.2
23.在HCl、H2SO4、NH4NO3和CaCl2中,既含有離子鍵又含有共價鍵的是__________。
答案:NH4NO3
24.醋酸鈉固體跟鹽酸反應,其離子反應方程式為__________。

25.50 mL BaCl2溶液中所含的Cl-,可被20 mL0.5 mol/L AgNO3溶液完全沉淀,則BaCl2溶液的物質的量濃度為__________mol/L。
答案:0.1
26.常溫下,相同濃度的①NaHCO3、②Na2CO3、③Na2SO4和④NaHSO4稀溶液,其溶液pH從小到大的順序依次為__________(填序號)。
答案:④③①②
27.元素X、Y、Z都位于短周期,它們的原子序數按X、Y、Z的順序依次增大。X和Z位于同一主族,Y和Z位于同一周期。Y的單質與2的單質相互作用,生成離子化合物Y2Z。則X原子的結構示意圖為__________。Y2Z的電子式為__________。

28.實驗室里制取乙烯的儀器裝置如下圖所示,在此裝置中,圓底燒瓶里的液體是__________(填物質名稱),圖中標號a的儀器名稱是__________。

答案:乙醇、濃硫酸溫度計
三、計算題:29~31小題。共33分。解答要求寫出必要的文字說明、方程式和重要演算步驟。只寫出最后答案。而未寫出主要演算過程的。不能得分。
29.如圖,間距ι=10 cm的平行光滑金屬直導軌水平放置在磁感應強度B=0.5 T的勻強磁場中,磁場方向豎直向下;在平行導軌的左端a、b兩點間接入兩個相同電阻,阻值R=0.8Ω;電阻為r=0.1Ω的導體滑桿cd放在導軌上且與其垂直。導軌電阻不計。當cd桿以υ=2 m/s向右勻速運動時,求
(1)通過cd桿的電流;
(2)使cd桿保持勻速運動,應對它施加外力的大小和方向。

30.如圖,AB為光滑固定的{圓弧面,其下端B與一木板的上表面光滑連接,木板可以在光滑水平面上自由移動,其左端固定一個輕彈簧。一小物塊自A點由靜止沿圓弧面下滑,滑上木板后壓縮彈簧。若小物塊和木板的質量均為m=1 kg,圓弧半徑R=0.2m,重力加速度g取10 m/s2。
求當彈簧被壓縮到最短時木板的速度和小物塊的動能。

31.28.6g Na2CO3·10H2O與質量分數為36.5%(密度1.19g/cm3)的鹽酸完全反應,消耗這種鹽酸溶液多少毫升?在標準狀況下,反應生成多少升二氧化碳?

掃一掃加入微信交流群
與考生自由互動、并且能直接與資深老師進行交流、解答。